popup

Základné rozmery

Popis

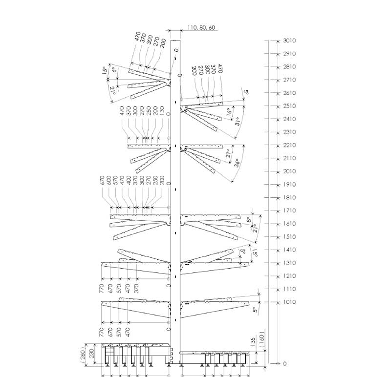
Výšky regálov,  rozmery políc